打开 App
战争警戒 资讯
战争警戒 资讯
链接复制成功
快去分享给好友吧~
战争警戒
《战争警戒》实机演示
战争警戒
2025/02/08
127
战争警戒
【更新日志】战争警戒手游1.9.2版本更新日志
或许不知杂
2026/02/09
3
战争警戒
【热更新公告】版本 180 1.8.0 热更新补丁251225
或许不知杂
2025/12/25
4
战争警戒最新动向
1983
+107
战争警戒
【更新公告】1.4.0版本更新日志
或许不知杂
2025/07/28
28
战争警戒
《战争警戒》今日全平台正式公测!
战争警戒
2025/02/27
33
战争警戒
《战争警戒》PC端首次测试预下载开启
战争警戒
2026/02/04
5
战争警戒
战争警戒半周年啦
或许不知杂
2025/08/27
26
战争警戒
【更新公告】1.1.0版本更新日志
或许不知杂
2025/03/31
17
战争警戒
【更新公告】1.5.0版本更新日志
或许不知杂
2025/08/28
8
战争警戒
战争警戒PC首测结束
战争警戒
2026/02/10
8
战争警戒
RTS新游上线❗红色警戒手机版❓四人PVP对战🎮体验配合战斗乐趣
小卿yo
2025/02/27
13
战争警戒
【更新公告】1.6.0版本更新日志
或许不知杂
2025/09/25
29
战争警戒
战争警戒PC首测测试开启
战争警戒
2026/02/05
2
战争警戒
战争警戒PC后期开发规划
战争警戒
2026/02/05
5
战争警戒
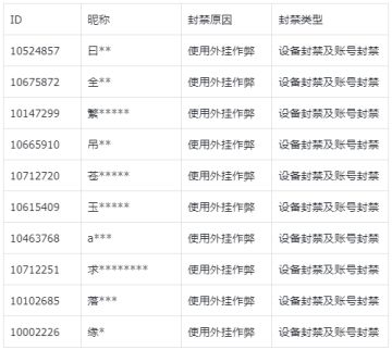
7月15日外挂打击处罚公告
或许不知杂
2025/07/15
16
战争警戒
【更新公告】1.1.4版本更新日志
或许不知杂
2025/04/17
22
战争警戒 论坛官方内容
114283
+30
战争警戒
【热更新公告】版本 150 1.5.0 热更新补丁250829
或许不知杂
2025/08/29
7
战争警戒
3月8日服务器异常问题修复公告
或许不知杂
2025/03/08
15
1
2
更多相关
龙之气息(测试服) 论坛官方内容
台球风云 论坛官方内容
星痕共鸣 装备攻略
代号:血月 资讯
星际猎人 资讯
风色传说最新动向
猫郎乐园 - Catboys Paradise最新动向
穿越时空之战 资讯
魔镜物语最新动向
破晓 论坛精华
战争警戒 论坛官方内容
方寸对决 论坛精华
封神:开天 福利
战争警戒 攻略
未知:升变2(TapTap测试版) 论坛精华
异世江湖 论坛官方内容
战争警戒 论坛精华
沙石镇时光 资讯
迷途猫(STRAYCAT) 资讯
战争警戒最新动向
打开
查看更多
网页版